CHI
CHI600D 系 列 为 通 用 电 化 学 测 量 系 统 。 内 含 快 速 数 字 信 号 发 生
器 , 高 速 数 据 采 集 系 统 , 电 位 电 流 信 号 滤 波 器 , 多 级 信 号 增 益 , iR 降 补 偿 电 路 , 以 及 恒 电 位
仪 / 恒 电 流 仪 ( 660D ) 。 电 位 范 围 为 10V , 电 流 范 围 为 250 mA 。 电 流 测 量 下 限 低 于 50
pA 。 可 直 接 用 于 超 微 电 极 上 的 稳 态 电 流 测 量 。 如 果 与 CHI200 微 电 流 放 大 器 及 屏 蔽 箱 连 接 ,
可 测 量 1 pA 或 更 低 的 电 流 。 如 果 与 CHI680 大 电 流 放 大 器 连 接 , 电 流 范 围 可 拓 宽 为 2 A 。
CHI600D 系 列 也 是 十 分 快 速 的 仪 器 。 信 号 发 生 器 的 更 新 速 率 为 10M Hz , 数 据 采 集 采 用 16 位
高 分 辨 模 数 转 换 器 , 速 率 为 1M Hz 。 某 些 实 验 方 法 的 时 间 尺 度 可 达 十 个 数 量 级 , 动 态 范 围 极
为 宽 广 。 循 环 伏 安 法 的 扫 描 速 度 为 1000 V/s 时 , 电 位 增 量 仅 0.1 mV , 当 扫 描 速 度 为 5000
V/s 时 , 电 位 增 量 为 1 mV 。 又 如 交 流 阻 抗 的 测 量 频 率 可 达 100K Hz (在 一 定 的 阻 抗 范 围 可 达
1M Hz), 交 流 伏 安 法 的 频 率 可 达 10K Hz 。 仪 器 可 工 作 于 二 , 三 , 或 四 电 极 的 方 式 。 四 电 极 可
用 于 液 / 液 界 面 电 化 学 测 量 , 对 于 大 电 流 或 低 阻 抗 电 解 池 ( 例 如 电 池 ) 也 十 分 重 要 , 可 消 除
由 于 电 缆 和 接 触 电 阻 引 起 的 测 量 误 差 。 仪 器 还 有 外 部 信 号 输 入 通 道 , 可 在 记 录 电 化 学 信 号 的
同 时 记 录 外 部 输 入 的 电 压 信 号 , 例 如 光 谱 信 号 等 。 这 对 光 谱 电 化 学 等 实 验 极 为 方 便 。
CHI600D 系 列 硬 件 采 用 了 高 速 的 处 理 器 , 快 速 的 放 大 器 , 快 速
的 模 数 转 换 器 和 数 模 转 换 器 。 计 时 电 量 法 加 上 了 模 拟 积 分 器 。 一 个 16 位 高 分 辨 高 稳 定 的 电 流
偏 置 电 路 以 达 到 电 流 复 零 输 出 , 亦 可 用 于 提 高 交 流 测 量 的 电 流 动 态 范 围 。 高 分 辨 的 模 数 转 换
器 具 有 更 好 的 信 噪 比 , 也 给 出 了 灵 敏 度 设 置 的 更 大 动 态 范 围 。
CHI600D 系 列 仪 器 的 内 部 控 制 程 序 采 用 了 FLASH 存 储 器 。 仪 器
软 件 的 更 新 不 再 需 要 通 过 邮 寄 并 更 换 EPROM , 而 可 以 通 过 网 络 进 行 传 送 并 通 过 程 序 命 令 写 入
。 这 使 得 软 件 更 新 更 加 快 捷 方 便 。
CHI600D 系 列 还 允 许 升 级 为 双 恒 电 位 仪 。 新 的 设 计 通 过 增 加 一
块 第 二 通 道 的 电 位 控 制 , 电 流 电 压 转 换 , 多 级 增 益 和 低 通 滤 波 器 的 电 路 板 , 便 成 了 CHI700D
系 列 的 双 恒 电 位 仪 。
CHI600D 系 列 仪 器 集 成 了 几 乎 所 有 常 用 的 电 化 学 测 量 技 术 。 为 了 满 足 不 同 的 应 用 需 要 以 及 经 费 条 件 , CHI600D 系 列 分 成 多 种 型 号 。 不 同 的 型 号 具 有 不 同 的 电 化 学 测 量 技 术 和 功 能 , 但 基 本 的 硬 件 参 数 指 标 和 软 件 性 能 是 相 同 的 。 CHI600D 和 CHI610D 为 基 本 型 , 分 别 用 于 机 理 研 究 和 分 析 应 用 。 它 们 也 是 十 分 优 良 的 教 学 仪 器 。 CHI602D 和 CHI604D 可 用 于 腐 蚀 研 究 。 CHI620D 和 CHI630D 为 综 合 电 化 学 分 析 仪 , 而 CHI650D 和 CHI660D 为 更 先 进 的 电 化 学 工 作 站 。
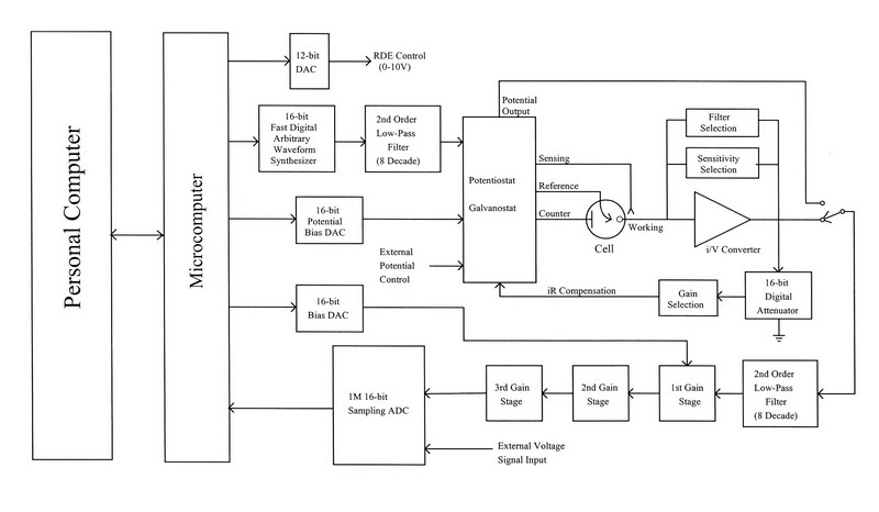
CHI600D 系 列 电 化 学 分 析 仪 / 工 作 站 的 框
硬 件 参 数 指 标
|
恒 电 位 仪 恒 电 流 仪 (Model 660D) 电 位 范 围 : ±10V 电 位 上 升 时 间 : < 1 微 秒 槽 压 : ±12 V 三 电 极 或 四 电 极 设 置 电 流 范 围 : 250 mA 参 比 电 极 输 入 阻 抗 : 1´1012 欧 姆 灵 敏 度 : 1´10-12 - 0.1 A/V 共 12 档 量 程 输 入 偏 置 电 流 : < 50 pA 电 流 测 量 分 辨 率 : < 0.01 pA CV 的 最 小 电 位 增 量 : 0.1 mV 电 位 更 新 速 率 : 10 MHz 快 速 数 据 采 集 : 16 位 分 辨 @ 1 MHz 外 部 电 压 输 入 信 号 记 录 通 道 自 动 及 手 动 iR 降 补 偿 CV 和 LSV 扫 描 速 度 : 0.000001 - 5,000 V/s |
|
电 位 扫 描 时 电 位 增 量 : 0.1 mV @ 1000 V/s CA 和 CC 脉 冲 宽 度 : 0.0001 - 1,000 sec CA 和 CC 阶 跃 次 数 : 320 DPV 和 NPV 脉 冲 宽 度: 0.0001 - 10 sec SWV 频 率 : 1 - 100 kHz ACV 频 率: 0.1 - 10 kHz SHACV 频 率: 0.1 - 5 kHz IMP 频 率: 0.00001 - 100 kHz (在 一 定 的 阻 抗 范 围 可 达 1M Hz) 自 动 电 位 和 电 流 零 位 调 整 电 位 和 电 流 测 量 低 通 滤 波 器 , 自 动 或 手 动 设 置 , 覆 盖 八 个 数 量 级 的 频 率 范 围 旋 转 电 极 控 制 输 出 : 0 - 10 V (630D 以 上 型 号 ) 电 解 池 控 制 输 出 : 通 氮 , 搅 拌 , 敲 击 最 大 数 据 长 度 : 128,000 点 - 4,096,000 点 可 选 择 仪 器 尺 寸 : 36cm (宽) ´ 24cm (深) ´ 12cm (高) 仪 器 重 量 : 5 kg |
CHI600D 系 列 仪 器 不 同 型 号 的 比 较
|
功 能 |
600D |
602D |
604D |
610D |
620D |
630D |
650D |
660D |
|
循 环 伏 安 法 ( CV ) |
l |
l |
l |
l |
l |
l |
l |
l |
|
线 性 扫 描 伏 安 法 ( LSV )# |
l |
l |
l |
l |
l |
l |
l |
l |
|
阶 梯 波 伏 安 法 ( SCV ) # |
|
|
|
|
|
l |
l |
l |
|
Tafel 图 ( TAFEL ) |
|
l |
l |
|
|
l |
l |
l |
|
计 时 电 流 法 ( CA ) |
l |
l |
l |
|
l |
l |
l |
l |
|
计 时 电 量 法 ( CC ) |
l |
l |
l |
|
l |
l |
l |
l |
|
差 分 脉 冲 伏 安 法 ( DPV )# |
|
|
|
l |
l |
l |
l |
l |
|
常 规 脉 冲 伏 安 法 ( NPV )# |
|
|
|
l |
l |
l |
l |
l |
|
差 分 常 规 脉 冲 伏 安 法 ( DNPV )# |
|
|
|
|
|
|
|
l |
|
方 波 伏 安 法 ( SWV )# |
|
|
|
|
l |
l |
l |
l |
|
交 流 ( 含 相 敏 ) 伏 安 法 ( ACV ) # |
|
|
|
|
|
l |
l |
l |
|
二 次 谐 波 交 流 (相 敏)伏 安 法( SHACV) # |
|
|
|
|
|
l |
l |
l |
|
电 流 - 时 间 曲 线 ( I-t ) |
|
|
|
|
|
l |
l |
l |
|
差 分 脉 冲 电 流 检 测 ( DPA ) |
|
|
|
|
|
|
|
l |
|
双 差 分 脉 冲 电 流 检 测 ( DDPA ) |
|
|
|
|
|
|
|
l |
|
三 脉 冲 电 流 检 测 ( TPA ) |
|
|
|
|
|
|
|
l |
|
积 分 脉 冲 电 流 检 测 ( IPAD) |
|
|
|
|
|
|
|
l |
|
控 制 电 位 电 解 库 仑 法 ( BE ) |
l |
l |
l |
|
l |
l |
l |
l |
|
流 体 力 学 调 制 伏 安 法 ( HMV ) |
|
|
|
|
|
|
l |
l |
|
扫 描 - 阶 跃 混 合 方 法 ( SSF ) |
|
|
|
|
|
|
l |
l |
|
多 电 位 阶 跃 方 法 ( STEP ) |
|
|
|
|
|
|
l |
l |
|
交 流 阻 抗 测 量 ( IMP ) |
|
|
l |
|
|
|
l |
l |
|
交 流 阻 抗 - 时 间 测 量 ( IMPT ) |
|
|
l |
|
|
|
l |
l |
|
交 流 阻 抗 - 电 位 测 量 ( IMPE ) |
|
|
l |
|
|
|
l |
l |
|
计 时 电 位 法 ( CP ) |
|
|
|
|
|
|
|
l |
|
电 流 扫 描 计 时 电 位 法 ( CPCR) |
|
|
|
|
|
|
|
l |
|
多 电 流 阶 跃 法 ( ISTEP ) |
|
|
|
|
|
|
|
l |
|
电 位 溶 出 分 析 ( PSA) |
|
|
|
|
|
|
|
l |
|
电 化 学 噪 声 测 量 (ECN) |
|
|
|
|
|
|
|
l |
|
开 路 电 压 - 时 间 曲 线 (OCPT ) |
l |
l |
l |
l |
l |
l |
l |
l |
|
|
|
|
|
|
|
|
|
|
|
恒 电 流 仪 |
|
|
|
|
|
|
|
l |
|
RDE 控 制 ( 0 - 10 V 输 出 ) |
|
|
|
|
|
l |
l |
l |
|
任 意 反 应 机 理 CV 模 拟 器 |
|
|
|
|
|
l |
l |
l |
|
预 设 反 应 机 理 CV 模 拟 器 |
l |
l |
l |
l |
l |
|
|
|
|
交 流 阻 抗 数 字 模 拟 器 和 拟 合 程 序 |
|
|
l |
|
|
|
l |
l |
|
|
|
|
|
|
|
|
|
|
注 : #: 包 括 相 应 的 极 谱 法 和 溶 出 伏 安 法 。 用 于 极 谱 法 时 需 要 特 殊 的 静 汞 电 极 或 敲 击 器 。
*: 价 格 不 包 括 计 算 机 。 仪 器 的 保 修 期 为 一 年 。